철도 휠의 플랜지 및 트레드 프로파일 설계는 안전하고 효율적인 열차 운행을 보장하는 데 중요한 역할을 합니다. 잘 조화된 휠-레일 접촉 형상은 마모와 응력을 줄일 뿐만 아니라 전반적인 주행 안정성과 곡선 협상 성능을 향상시킵니다.
휠 트레드 프로파일을 설계할 때 레일 헤드 형상과의 적절한 호환성을 보장하는 것이 필수적입니다. 이상적인 휠-레일 인터페이스는 접촉 응력을 효과적으로 줄이고 마모를 최소화하여 다음에 직접적으로 기여할 수 있습니다.
· 곡선 통과 시 성능 향상
· 유지보수 빈도 및 비용 감소
· 열차 안정성을 위한 임계 속도 증가
또한 새로 설계된 트레드 프로파일은 실제 작동 조건에서 마모된 프로파일과 밀접하게 일치해야 합니다. 이는 재프로파일 작업 중 금속 제거량을 줄여 휠 서비스 수명을 연장하고 유지 관리 비용을 낮추는 데 도움이 됩니다.

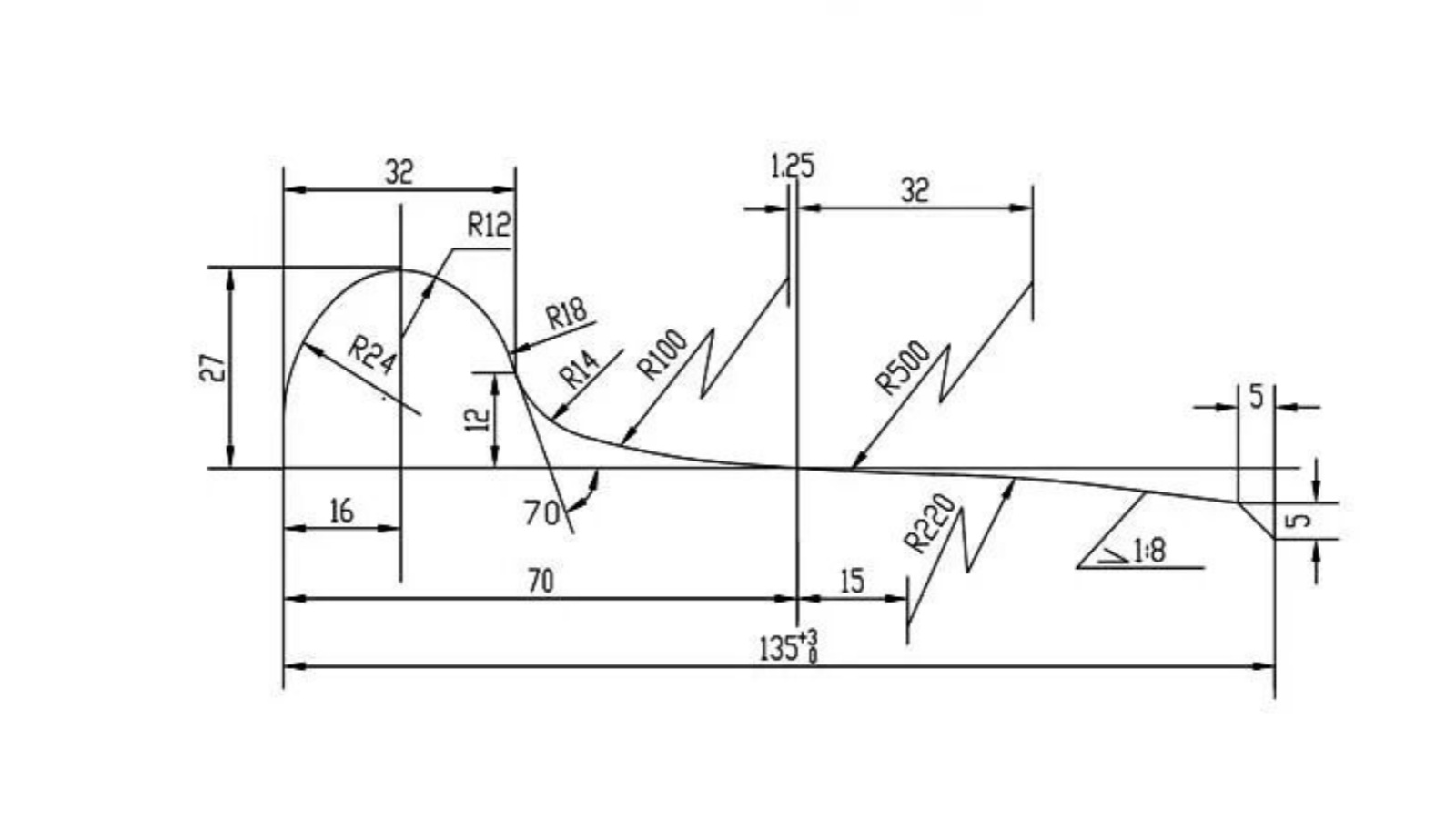
플랜지는 탈선을 방지하는 주요 안전 기능입니다. 높이와 형상을 신중하게 제어해야 합니다.
· 플랜지 높이: 일반적으로 26mm ~ 30mm 범위
· 너무 낮음: 탈선 위험 증가
· 너무 높음: 특히 트레드 마모가 심각한 경우 피쉬플레이트 볼트 또는 숄더와 같은 레일 구성요소에 간섭을 일으킬 수 있음
투표율을 안전하게 통과하려면 휠 직경이 작을수록 일반적으로 플랜지 높이가 더 높아야 합니다.
플랜지 각도도 중요합니다. 플랜지의 외부 표면은 수평면과 적절한 각도를 유지해야 합니다.
· 각도가 너무 작음: 휠 클라이밍 위험이 높음(저속에서 탈선)
· 각도가 너무 큼: 프로파일링 중 가공 제거가 증가하고 공격 각도 조건에서 플랜지 상단과 레일 사이에 접촉이 발생할 수 있음

트레드 프로파일은 바퀴의 구조적 설계보다는 주로 선로 상태와 열차 운행 속도에 따라 결정됩니다. 트랙 인프라나 작동 속도에 큰 변화가 없으면 휠 구조가 수정되더라도 트레드 프로필은 일반적으로 변경되지 않습니다.
대부분의 경우 철도 시스템 전반에 걸쳐 호환성과 신뢰성을 보장하기 위해 표준화된 트레드 프로파일이 채택됩니다.
철도 휠 플랜지 및 트레드 프로파일 설계는 열차 안전 및 성능의 중요한 측면입니다. 휠-레일 상호 작용을 최적화하고, 플랜지 치수를 제어하고, 트레드 설계를 실제 작동 조건에 맞춰 조정함으로써 철도 운영자는 운영 효율성을 크게 향상시키고 마모를 줄이며 전반적인 안전성을 향상시킬 수 있습니다.